
15380262555

發布時間:2025-03-05 瀏覽次數:677人看過
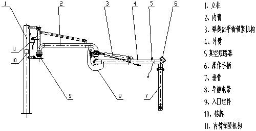
頂部裝車鶴管AL1402 技術參數 型號 AL1402 備注 規格 DN50、DN80、DN100、DN125、DN150 適用介質 AL1402頂部裝車臂適用于汽、煤、柴油、液態化工介質,水煤漿等的汽、火車頂部裝卸。 AL1402襯四氟頂部裝車臂適用于強酸、氧化劑、堿等強腐蝕性介質的汽、火車頂部裝卸,內襯材料:PTFE、PO等。 設計溫度 -40°C-190°C 設計壓力 0-2.5MPa 材質 20#、16Mn、不銹鋼


掃碼關注微信

掃碼瀏覽手機站